



G11W內螺紋隔膜閥
產品名稱:內螺紋隔膜閥
產品特點:設計與制造:BS5156 結構長度:BS5156 法蘭連接尺寸:BS4504、DIN2532、JIS B2212、ANSI B16.1、ISO2004 EG11W內螺紋隔膜閥
.jpg)

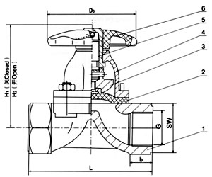
部件列表:1.閥體 2.隔膜 3.閥瓣 4.閥桿 5.閥蓋 6、手輪
一、內螺紋隔膜閥用途:
內螺紋隔膜閥專用于控制一般腐蝕性介質,可供各類管路或設備上作啟閉及節流用。
適用溫度:≤120℃、≤150℃(按照隔膜材料)
壓力等級:PN(MPa) 0.6 1.0 1.6
二、內螺紋隔膜閥材料:
閥體:鑄鐵、球墨鑄鐵、碳鋼、不銹鋼
閥蓋:鑄鐵、球墨鑄鐵、碳鋼、不銹鋼
隔膜:橡膠
閥瓣:鑄鐵、不銹鋼
閥桿:碳鋼、不銹鋼
手輪:鑄鐵
三、內螺紋隔膜閥測試:
襯里層:電火花檢測
試驗與檢驗按BS6755標準
公稱壓力:PN(MPa)
閥體:PN×1.5
密封:PN×1.1
四、內螺紋隔膜閥主要尺寸參數:
公稱通徑 公稱壓力 工作壓力 L SW b H1 H2 D0 質量 DN G 8 1/4 1.6 1.6 50 20 - 60 66 45 0.6 10 3/8 50 24 - 45 0.7 15 1/2 65 38 8 84 92 50 0.8 20 3/4 85 40 12 93 103 50 1.1 25 1 110 48 18 106 120 66 1.9 32 1 1/4 120 58 18 137 156 96 3.3 40 1 1/2 140 69 18 142 163 96 4.2 50 2 165 85 20 167 192 96 5.8 65 2 1/2 1.0 203 60 20 190 225 165 9.5 80 3 254 105 32 206 246 230 16.2
MPa
MPa
mm
mm
mm
mm
mm
mm
Kg/kilos
-
-
訂貨須知: 一、①內螺紋隔膜閥產品名稱與型號②內螺紋隔膜閥口徑③是否帶附件以便我們的為您正確選型。