



一、產品[低溫截止閥]的詳細資料:
產品名稱:低溫截止(節流)閥
產品特點:國標低溫截止閥,國標低溫節流閥,低溫截止閥
二、執行標準:
設計與制造 結構長度 浩蘭尺寸 壓力-溫度 試驗-檢驗 JB/T7749 GB12221 JB79 GB9131 JB/T9092
三、壓力試驗:
公稱壓力PN 1.6 2.5 4.0 強度試驗 2.4 3.8 6.0 水密封試驗 1.8 2.8 4.4 上密封試驗 1.8 2.8 4.4 氣密封試驗 0.4-0.7
四、主要零件材料及性能:
體蓋板 閥桿 密封面 墊片 埴料 工作溫度℃ 適用介質 LCB 1Cr17Ni12 DTL/DTL 1Cr13/柔性石墨低溫石棉 PTFE -46 丙烷/丙烯 LC1 -60 LC2 -73 LC3 1Cr18Ni9Ti -101 LC4 -115 LC8 -196
浸四氟乙
烯石棉繩
柔性石墨
甲醇,乙烷
煤氣/液氨
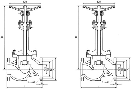
五、國標低溫截止閥(節流)閥 PNl.6MPa一4.0MPa 規格主要尺寸:
1.6MPa DN L D D1 D2 b n-Φd H D0 -46℃ 4-101℃ -196℃ 凸面法蘭 50 230 160 125 100 16 4-Φ18 460 480 520 240 65 290 180 145 120 18 4-Φ18 475 505 525 280 80 310 195 160 135 20 8-Φ18 520 550 590 280 100 350 215 180 155 20 8-Φ18 545 575 615 320 125 400 245 210 185 22 8-Φ18 590 620 660 360 150 480 280 240 210 24 8-Φ23 650 680 730 400 200 600 335 295 265 26 12-Φ23 850 880 930 400 250 730 405 355 320 30 12-Φ25 956 986 1036 450 300 850 460 410 375 30 12-Φ25 1095 1125 1175 500 2.5MPa 50 230 160 125 100 20 4-Φ18 460 460 520 240 凸面法蘭 65 290 180 145 120 22 8-Φ18 475 505 525 280 80 310 195 160 135 22 8-Φ18 520 550 590 280 100 350 230 190 160 24 8-Φ23 545 575 615 320 125 400 270 220 188 28 8-Φ25 590 620 660 360 150 480 300 250 218 30 8-Φ25 650 680 730 400 200 600 360 310 278 34 12-Φ25 850 880 930 400 250 730 425 370 332 36 12-Φ30 956 986 1036 450 300 850 485 430 390 40 16-Φ30 1095 1125 1175 500 4.0MPa 50 230 160 125 100 20 4-Φ18 483 504 546 240 凸面法蘭 65 290 180 145 120 22 8-Φ18 499 530 551 280 80 310 195 160 135 22 8-Φ18 546 578 620 280 100 350 230 190 160 24 8-Φ23 572 604 646 320 125 400 270 220 188 28 8-Φ25 620 651 693 360 150 480 330 2850 218 30 8-Φ25 683 741 767 400 200 600 375 320 282 38 12-Φ30 893 924 977 400 250 730 445 385 345 42 12-Φ34 1004 1035 1088 450 300 850 510 450 408 46 16-Φ34 1150 1181 1234 500
RF
DJ41Y-16L
DJ41Y-16L C1
DJ41Y-16L C2 DJ41Y-16L C3
DJ41Y-16L C4 DJ41Y-16P
DJ41Y-16R
RF
DJ41Y-25L
DJ41Y-25L C1
DJ41Y-25L C2 DJ41Y-25L C3
DJ41Y-25L C4 DJ41Y-25P
DJ41Y-25R
RF
DJ41Y-40L
DJ41Y-40L C1
DJ41Y-40L C2 DJ41Y-40L C3
DJ41Y-40L C4 DJ41Y-40P
DJ41Y-40R
.jpg)