



|
公稱通徑(DN)
|
15-500
|
||
|
公稱壓力(MPa)
|
1.6
|
2.5
|
|
|
試驗壓力
(MPa) |
強度
|
2.4
|
3.75
|
|
密封
|
1.76
|
2.75
|
|
|
適用介質
|
氧氣
|
||
|
阻燃器材質
|
銅
|
||
|
接頭材質
|
不銹鋼
|
||
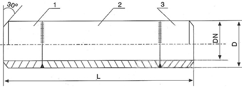
阻火器主要外形及連接尺寸
|
公稱通徑DN
|
FP-XT氧氣管道阻火器
|
FPV-XT氧氣管道閥門前、后阻火器
|
||||
|
型號規格
|
D
|
L
|
型號規格
|
D
|
L
|
|
|
15
|
FP-1.5T
|
18
|
600
|
FP-1.5T
|
18
|
1600
|
|
20
|
FP-2.0T
|
25
|
600
|
FP-2.0T
|
25
|
1600
|
|
25
|
FP-2.5T
|
32
|
600
|
FP-2.5T
|
32
|
1600
|
|
32
|
FP-3.2T
|
38
|
600
|
FP-3.2T
|
38
|
1600
|
|
40
|
FP-4.0T
|
48
|
600
|
FP-4.0T
|
48
|
1600
|
|
50
|
FP-5.0T
|
57
|
700
|
FP-5.0T
|
57
|
1700
|
|
65
|
FP-6.5T
|
76
|
700
|
FP-6.5T
|
76
|
1700
|
|
80
|
FP-8.0T
|
89
|
700
|
FP-8.0T
|
89
|
1700
|
|
100
|
FP-10T
|
108
|
700
|
FP-10T
|
108
|
1700
|
|
125
|
FP-12.5T
|
133
|
700
|
FP-12.5T
|
133
|
1700
|
|
150
|
FP-15T
|
159
|
800
|
FP-15T
|
159
|
1800
|
|
200
|
FP-20T
|
219
|
800
|
FP-20T
|
219
|
1800
|
|
250
|
FP-25T
|
273
|
800
|
FP-25T
|
273
|
1800
|
|
300
|
FP-30T
|
325
|
800
|
FP-30T
|
325
|
1800
|
|
350
|
FP-35T
|
377
|
800
|
FP-35T
|
377
|
2050
|
|
400
|
FP-40T
|
426
|
800
|
FP-40T
|
426
|
2300
|
|
450
|
FP-45T
|
480
|
800
|
FP-45T
|
480
|
2550
|
|
500
|
FP-50T
|
530
|
800
|
FP-50T
|
530
|
2800
|
注:1、管道公稱壓力PN=4MPa
2、訂貨時請說明氧氣管道的材質及規格,以便選用相適用的接管材料。
3、根據用戶需要阻火器可采用法蘭結構,法蘭按JB/T82.2-94標準設計。

.jpg)